おかげさまで開設25周年GADGETHUNGRY.COM 創業祭

GADGETHUNGRY.COM

詳しくはこちら
マイストア マイストア 変更
  • 即日配送
  • 広告
  • 取置可能
  • 店頭受取

HOT ! オーダーページ VOLK RACING ZE40 M-spec × MAZDA ROADSTER ※海外専売モデル

※GADGETHUNGRY.COM 限定モデル
YouTuberの皆様に商品の使い心地などをご紹介いただいております!
紹介動画はこちら

ネット販売
価格(税込)

8556

  • コメリカード番号登録、コメリカードでお支払いで
    コメリポイント : 2ポイント獲得

コメリポイントについて

購入個数を減らす
購入個数を増やす

お店で受け取る お店で受け取る
(送料無料)

受け取り店舗:

お店を選ぶ

近くの店舗を確認する

納期目安:

13時までに注文→17時までにご用意

17時までに注文→翌朝までにご用意

受け取り方法・送料について

カートに入れる

配送する 配送する

納期目安:

2026.03.05 10:46頃のお届け予定です。

決済方法が、クレジット、代金引換の場合に限ります。その他の決済方法の場合はこちらをご確認ください。

※土・日・祝日の注文の場合や在庫状況によって、商品のお届けにお時間をいただく場合がございます。

即日出荷条件について

受け取り方法・送料について

カートに入れる

欲しいものリストに追加

欲しいものリストに追加されました

オーダーページ VOLK RACING ZE40 M-spec × MAZDA ROADSTER ※海外専売モデルの詳細情報

VOLK RACING ZE40 M-spec × MAZDA ROADSTER ※海外専売モデル。Parts for W1737 37。Grizzly G0458ZX - 18。Parts for W1737 37。この度はコメントありがとうございます♪詳細です↓【ジャンケットバンク/真経津晨】ウィッグ(ピュアミディアム)【2,860】↑送料、システム手数料(画像4枚目参照)【1,012】制作費【7,000】手数料【1,341】配送【550】お急ぎ便(3週間)【3,000】▷▶︎▷合計 ¥14,751配送方法 / 佐川急便/日本郵便 : 宅急便・納期→3月18日・希望 / 顔周り(横)気持ち長め・配送方法 / 佐川急便/日本郵便 : 宅急便コンパクト(マネキン無し) ※潰して配送するので多少崩れる可能性があります☆質問失礼します!・画像2枚目のキャラ、ビジュでお間違い無いでしょうか?・ウィッグの色味は画像3枚目(オレンジ03)で大丈夫でしょうか?確認ありがとうございました!お返事お待ちしております♪
  • VOLK RACING ZE40 M-spec × MAZDA ROADSTER  ※海外専売モデル
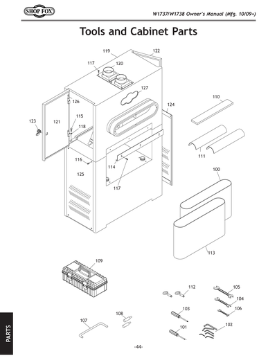
  • Parts for W1737 37
  • Grizzly G0458ZX - 18
  • Parts for W1737 37

同じカテゴリの 商品を探す

ベストセラーランキングです

このカテゴリをもっと見る

この商品を見た人はこんな商品も見ています

近くの売り場の商品

このカテゴリをもっと見る

カスタマーレビュー

オススメ度  4.2点

現在、3752件のレビューが投稿されています。